申请商标在哪办理
申请商标主要通过我国国家知识产权局(CNIPA)旗下的商标局办理,构卓企服为您具体介绍可通过以下途径,希望对您商标注册申请有所帮助。 一、线上办理(推荐) 中国商标网,登录“商标···
六智信息已申请个图读书会等商标
近日,个人知识库平台“360doc个人图书馆”宣布无偿转让的消息引发外界关注。 据构卓企服查询显示,北京六智信息技术股份有限公司已申请注册“个图读书会”“个图会”“个图汇”等商标,···
申请商标怎么办理
申请注册商标是一个系统性的流程,需要一定的专业知识和耐心。以下是构卓企服介绍的办理商标申请的详细步骤、核心要点和两种主要途径,希望能帮助您清晰了解整个过程。 一、两种主要申请···
宁德时代申请宁的神马商标
据构卓企服查询显示,近日,宁德时代新能源科技股份有限公司申请注册多枚“神马”“宁的神马”“宁德时代神马”商标,国际分类包括科学仪器、运输工具、设计研究等,当前商标状态均为等待实···
申请商标续展注册有哪些规定
商标续展注册是确保商标权持续有效的关键程序。与重新申请相比,续展流程更简便,能延续商标的原始申请日期,法律效力无缝衔接。以下是构卓企服整理的商标续展注册的核心规定和操作指南: ···
美国初创公司申请收回“推特”商标,称马斯克已弃用
一家新兴社交媒体平台已向美国专利与商标局提出申请,要求取消“推特”(Twitter)的商标,以便由其接管。该公司声称,马斯克旗下的X公司已放弃这些商标。 总部位于弗吉尼亚的初创公司Op···
申请商标被两次驳回怎么办
商标申请连续两次被驳回,确实会让人感到挫败和困惑,但这绝不意味着没有希望了。关键在于冷静分析、找准原因并采取正确的后续策略。您遇到的“两次驳回”通常有两种情况,应对策略截然不同···
申请商标续展注册有哪些程序?
申请商标续展注册的程序相比商标首次注册要简单、直接很多,因为它不涉及实质审查(无需再次判断显著性或查询近似商标),核心是“确权”而非“授权”。以下是构卓企服介绍商标续展的详细程···
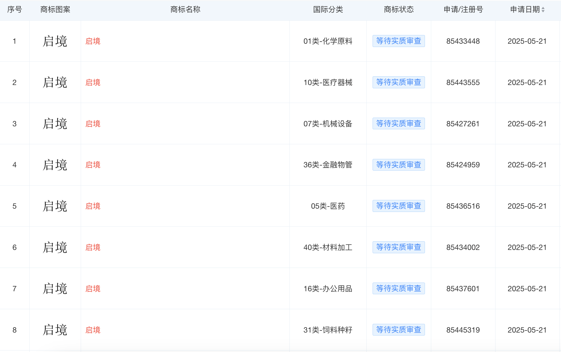
华望汽车技术公司已申请多枚启境商标
据悉,在华为乾崑生态大会上,广汽集团与华为共同推出的高端汽车品牌启境首次正式公开亮相。查询显示,华望汽车技术(广州)有限公司已申请注册多枚“启境”商标,国际分类涉及颜料油漆、科学···
申请商标注册的程序是什么
申请商标注册的程序在我国主要遵循以下流程。整个周期相对较长,通常需要8-12个月甚至更久。以下是构卓企服整理详细的步骤分解,您可以参考流程来直观理解整体过程。 第一阶段:申请前准···














