据报道,11月6日,俞敏洪发文确认孙东旭从东方甄选离职。俞敏洪称:“东旭和我,是东方甄选的创始人。没有东旭的努力和坚忍不拔的奋斗,就不可能有东方甄选的发展和今天。”
查询显示,东方甄选关联东方优选(北京)科技有限公司成立于2021年10月,法定代表人为孙东旭,注册资本1000万人民币,经营范围包括广播电视节目制作经营、网络文化经营、演出经纪、旅游业务等。

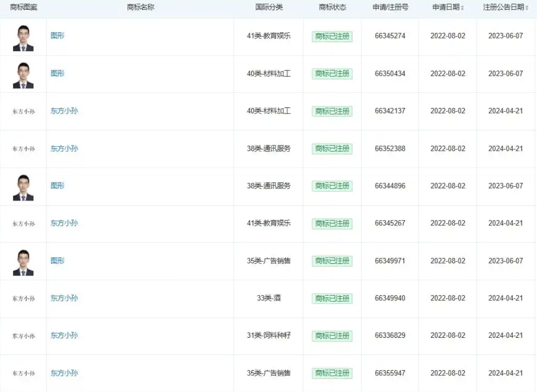
股东信息显示,该公司由北京新东方迅程网络科技有限公司全资持股。知识产权信息显示,该公司已成功注册多枚孙东旭照片和东方小孙商标,国际分类涉及教育娱乐、广告销售等。此外,该公司还登记了“东方甄选主播东方小孙卡通形象”美术作品著作权。
任职期间内注册的商标,离职后商标属于谁?答案是:不一定,需要根据具体情况判断,但核心原则是“谁注册,权利归谁”,同时受到“职务行为”等规定的限制。
简单来说,商标权的归属主要看这个商标是以谁的名义申请,以及是否属于职务行为。
以下是几种常见情况的详细分析:
一、原则上:商标权属于商标注册人
商标权是基于申请并获得核准而产生的专有权。根据我国商标法,商标注册人享有商标专用权。所以,最直接的原则是:商标证上写的是谁的名字,法律上就初步推定商标权归谁。
如果商标是以员工个人名义注册的:那么即使是在职期间注册的,原则上商标权属于该员工个人。公司想要获得这个商标,需要通过转让程序。
如果商标是以公司名义注册的:那么商标权毫无疑问属于公司,与具体经办人(员工)是谁无关。员工离职后无权带走。
二、关键例外:职务行为产生的商标
即使商标注册在员工个人名下,如果该商标的创作和注册被认定为“职务行为”,那么公司可以主张权利,要求将商标转移至公司名下。
根据《专利法》和《商标法》的相关法理及司法实践,构成“职务行为”通常需要满足以下条件之一:
执行本职工作:员工在公司的本职工作职责就包括品牌设计、市场推广或与商标相关的工作。
利用公司资源:员工主要利用了公司的物质技术条件(如公司提供的电脑、设计软件、工作时间、公司资金等)来完成商标的设计和注册。
履行公司分配的任务:商标的创作和注册是公司明确分配给该员工的任务。
三、有明确约定的情况:合同优先
如果员工与公司在劳动合同、保密协议或单独的知识产权协议中,已经对在职期间产生的智力成果归属做出了明确约定,那么通常会按照约定执行。例如,合同明确规定“员工在职期间产生的与公司业务相关的任何知识产权均归公司所有”。
对企业而言:
以公司名义申请:这是最根本、最安全的做法。所有用于公司业务的商标,必须用公司的营业执照作为主体来申请。
签订完善的协议:在劳动合同或专项协议中,明确约定员工在职期间产生的、与公司业务相关的知识产权(包括商标、专利、著作权等)归属公司。
规范内部管理:明确工作职责,保留工作安排、任务分配、使用公司资源的记录,以备在发生纠纷时作为“职务行为”的证据。
对员工而言:
明确权利边界:如果是在工作职责之外,利用自己的时间和资源,创作了与公司业务完全无关的商标,并以个人名义注册,通常风险较小。
避免利益冲突:不要将利用公司资源和信息产生的成果据为己有,这不仅是民事纠纷,还可能违反劳动合同和保密义务。
谨慎对待:在在职期间以个人名义注册与公司业务相同或类似的商标,极易引发纠纷,且很可能被公司通过法律途径成功追回。
温馨提示:核心在于申请主体和是否属于职务行为。企业应通过规范管理规避风险,而员工则应了解法律边界,避免不必要的纠纷。如果发生争议,通常需要通过诉讼由法院来最终裁决。
免责声明:本网内容转载自其他媒体,目的在于传递及普及知识产权相关知识。相关内容已经注明来源,其原创性以及文中陈述文字和内容未经本站证实,对本文以及其中全部或者部分内容、文字的真实性、完整性、及时性本站不作任何保证或承诺,并请自行核实相关内容。本站不承担此类作品侵权行为的直接责任及连带责任。如若本网有任何内容侵犯您的权益,请及时联系我们 dn@gouzhuo.com ,本站将会在24小时内处理完毕。




