近日,广州一家名为“禽始皇”的卤味品牌引发网友争议。
“禽始皇”谐音“秦始皇”,该品牌将秦始皇中的“秦”改为“禽”作为品牌使用,旁边还有一只头戴冠冕的黄色鸭子。对此,网友的态度呈两极分化!

有网友认为,该品牌的行为不妥,这样做是对“千古一帝”秦始皇的不尊重,容易产生不良影响,谐音梗不应不分场合使用!
也有网友认为,没啥大问题,现在的大环境太限制商家创意,这也不能用,那也不能用!
构卓查询发现,“禽始皇”早已是注册商标,深圳市禽始皇烤卤有限公司自2010年就开始申请“禽始皇QSH”图形商标,2014年又申请了多件“禽始皇”、“禽始王”等商标,类别涵盖29类-食品、35类-广告销售以及43类-餐饮住宿等,这些商标都已获准注册!

不过,该公司2016年之后提交的多件“禽始皇”“禽始煌”商标都没有注册成功,目前处于无效状态。
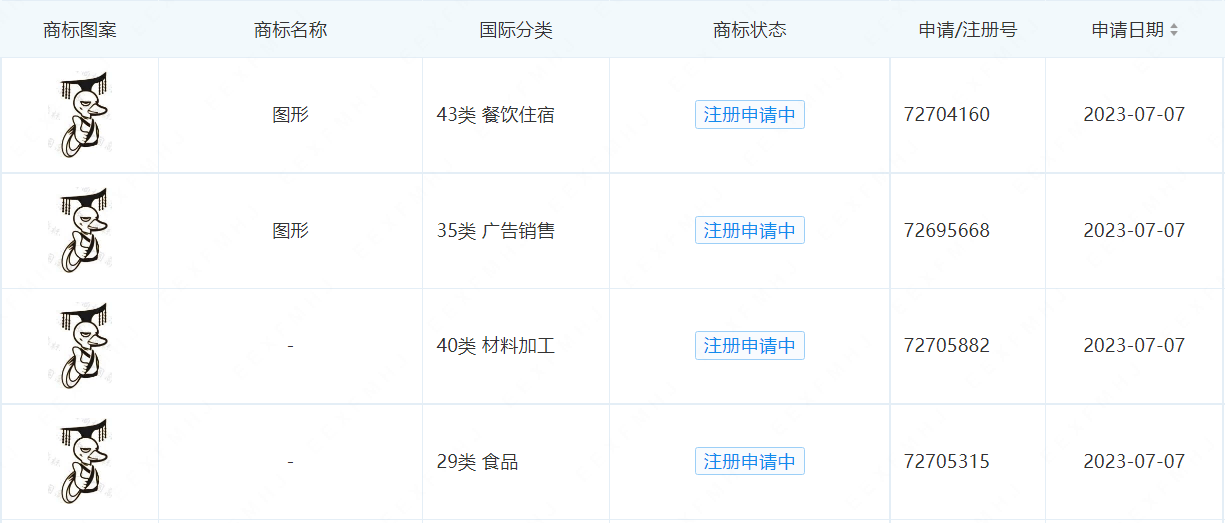
此外,该公司还于今年7月份提交了多件图形商标,正是那只“头戴冠冕的鸭子”,目前这几件商标都处于申请中状态。

对于商家来说,借秦始皇这样的历史人物进行品牌和商标命名,可以迅速博得大众眼球,吸引关注和流量,可以更快的走进市场。不过,这种命名方式存在一定的风险,当谐音梗被认定为格调不高时,商标申请会被商标局予以驳回。企业在进行商标命名时,要思虑长远发展!
免责声明:本网内容转载自其他媒体,目的在于传递及普及知识产权相关知识。相关内容已经注明来源,其原创性以及文中陈述文字和内容未经本站证实,对本文以及其中全部或者部分内容、文字的真实性、完整性、及时性本站不作任何保证或承诺,并请自行核实相关内容。本站不承担此类作品侵权行为的直接责任及连带责任。如若本网有任何内容侵犯您的权益,请及时联系我们 dn@gouzhuo.com ,本站将会在24小时内处理完毕。




