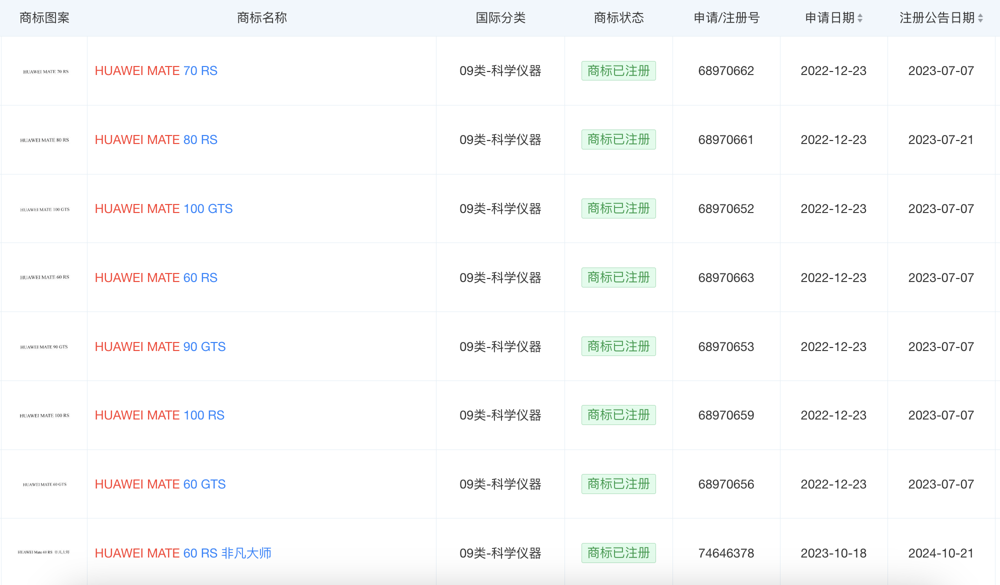
11月25日,华为举办新品发布会,正式发布了Mate 80系列手机。构卓企服查询显示,华为技术有限公司曾于2022年12月申请注册“HUAWEI MATE 80 RS”“HUAWEI MATE 80 GTS”商标,国际分类为科学仪器,上述商标均已成功注册。

此外,华为技术有限公司还于同时期申请注册了“HUAWEI MATE 90 GTS”“HUAWEI MATE 90 RS”“HUAWEI MATE 100 GTS”“HUAWEI MATE 100 RS”商标,国际分类均为科学仪器,商标均为已注册。
商标注册申请是企业或个人在商业活动中具有战略意义的一步。它不仅仅是获得一个法律凭证,更是为品牌构建了一道坚实的“防火墙”。以下是商标注册申请的八大核心好处:
1.法律保护,确权凭证
这是最核心的好处。一旦成功注册,商标注册人就享有了该商标的专用权,受法律保护。任何未经许可在相同或类似商品/服务上使用相同或近似商标的行为,都构成侵权。您可以凭借《商标注册证》向工商行政管理部门投诉或向法院提起诉讼,有效打击侵权行为,保护自己的市场。
2.市场准入资格
在许多重要的商业渠道,商标注册证是必不可少的“通行证”:
电商平台入驻:如天猫、京东、亚马逊等主流电商平台,都要求商家提供商标注册证才能入驻。
社交媒体官方认证:在微信、微博等平台进行企业或品牌官方认证时,通常需要商标证明。
线下商场入驻:很多大型商场或超市也会将品牌注册作为入驻条件。
3.建立品牌基础,区别商品来源
商标是品牌的脸面和核心载体。它帮助消费者在众多商品中识别和记住您的产品,是建立品牌忠诚度的起点。通过持续使用和宣传注册商标,可以积累品牌声誉,使品牌资产不断增值。
4.构成无形资产,具有巨大价值
一个成功的注册商标本身就是一笔宝贵的无形资产。
估值与融资:商标可以进行价值评估,并作为无形资产进行抵押贷款。
许可与转让:您可以将其许可给他人使用,收取商标使用费(特许经营);也可以直接转让,获得直接收益。
资本化:在企业评估、入股、并购等资本运作中,注册商标是重要的资产组成部分。
5.防止被抢注,避免侵权风险
保护自己:在中国实行“申请在先”原则,谁先申请谁就拥有优先权。如果您不及时注册,被他人抢注后,您反而可能面临侵权诉讼,甚至被迫放弃自己苦心经营的品牌。
避免无意侵权:通过注册前的查询,可以了解是否存在在先权利,从而避免无意中侵犯他人的商标权,节省了潜在的巨大诉讼成本和商业损失。
6.是产品质量的象征和消费者的信任保证
对消费者而言,一个注册商标往往意味着该产品来自正规厂家,质量和服务更有保障,更容易产生信任感。特别是成为“驰名商标”或“著名品牌”后,这种信任感会极大地促进销售。
7.有效的营销工具
商标是营销和广告的核心。一个独特的商标更容易被消费者记住和传播,从而大大降低营销成本,提高广告效益。您可以在广告中自豪地使用®符号,彰显品牌的合法性与专业性。
8.成为企业信誉的载体
企业的信誉、文化、产品质量最终都会凝聚在商标上。随着企业的发展,商标的价值和知名度也会随之攀升,成为一个承载企业信誉的活招牌。
温馨提示:将商标进行注册,是一项成本低、回报高、具有长远战略价值的投资,是企业品牌化经营中必不可少的第一步。
免责声明:本网内容转载自其他媒体,目的在于传递及普及知识产权相关知识。相关内容已经注明来源,其原创性以及文中陈述文字和内容未经本站证实,对本文以及其中全部或者部分内容、文字的真实性、完整性、及时性本站不作任何保证或承诺,并请自行核实相关内容。本站不承担此类作品侵权行为的直接责任及连带责任。如若本网有任何内容侵犯您的权益,请及时联系我们 dn@gouzhuo.com ,本站将会在24小时内处理完毕。




