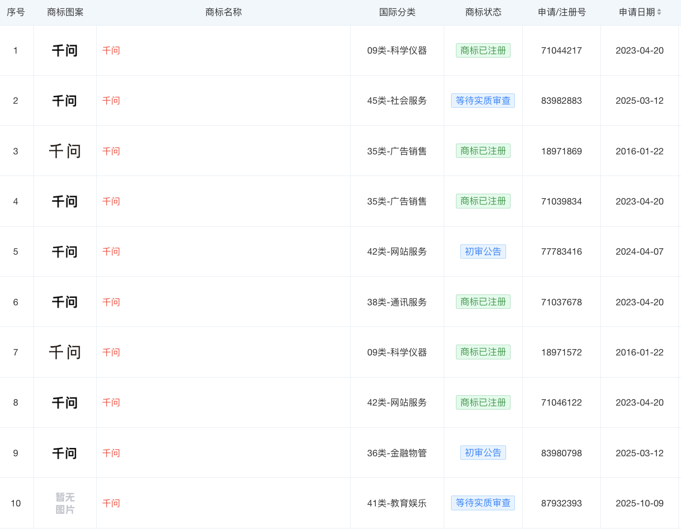
据构卓企服查询显示,阿里巴巴(中国)有限公司已成功注册多枚“千问”商标,国际分类包括科学仪器、广告销售、通讯服务等。此外,该公司已成功注册多枚“TONGYI QWEN”商标,国际分类包括广告销售、通讯服务、网站服务等。

商标成功注册后,正确使用至关重要,这不仅能充分发挥商标的价值,还能避免因使用不当而导致商标被撤销或权利受限。
以下是商标成功注册后的使用指南,分为“应该做什么”和“不能做什么”两大部分。
一、应该做什么(正确使用与维护)
1.规范使用注册标记
在商标成为注册商标后,您可以在商标的右上角或右下角使用注册标记,以表明该商标已受法律保护。
®:用于已注册的商标(Registered Trademark)。这是国际通用的注册标记。
“注”+圆圈或“注册商标”:这是在中国境内常用的中文标识。
作用:向公众、竞争对手和潜在侵权者宣告您的专有权利,起到警示作用,并且在发生侵权时,可以作为您已履行告知义务的证据。
2.确保使用与注册图样一致
这是最核心的原则。您在实际商业活动中使用的商标标识,必须与您提交申请并获准注册的商标图样完全相同。
文字商标:必须使用注册时指定的字体、字形。如果注册的是楷体,实际使用黑体,就可能被视为不规范使用。
图形商标:不能改变图形的构图、比例、颜色(如果注册的是黑白图,则可以使用任意颜色;但如果注册时指定了颜色,则必须使用相同颜色)。
组合商标:应按照注册时的组合方式、比例一起使用。如果需要分开使用,最好将各个部分(文字和图形)分别注册。
3.在核准的商品/服务上使用
您的商标专用权仅限于《商标注册证》上核准的商品或服务项目。您只能在核准的项目上使用注册商标,并享有专用权。超出范围使用,不仅不受保护,还可能侵犯他人的商标权。
4.保留完整的使用证据
这是应对“撤三”风险(即连续三年停止使用撤销申请)的生命线。如果他人对您的注册商标提出“撤三”,您负有提供使用证据的责任。
有效的使用证据包括:
销售合同/协议
带有日期和商标标识的发票(最好在备注栏注明商标名称)
广告宣传材料:如杂志、报纸、电视广告的合同和样本、广告牌照片、网站截图、社交媒体推广记录等。
产品包装、标签、说明书:上面清晰印有商标和公司信息。
参加展览会/博览会的证明:如展位照片、参展合同、会刊等。
商标许可他人使用的备案证明(如果存在许可情况)。
关键点:证据上必须清晰显示商标标识、使用日期,并且是在中国境内的使用。
5.关注商标续展时间
商标注册有效期为10年,自核准注册之日起计算。您需要在期满前12个月内申请续展,在此期间未能办理的,还有6个月的宽展期。务必提前准备,避免商标因过期而失效。
6.进行商标监控
主动监控市场,看是否有他人申请注册与您商标相同或近似的商标,或者在相同/类似商品上使用。一旦发现,应及时提出异议或无效宣告,甚至采取法律诉讼,以维护自身权益。
二、不能做什么(常见的使用陷阱)
1.切勿自行改变注册商标
这是最常见的错误。包括:
改变文字字体。
改变图形设计。
改变组合商标中文字和图形的位置关系。
在商标上随意增加或删减元素。
后果:改变后的商标是一个“新商标”,不受原注册商标专用权的保护。如果长期不规范使用,可能导致注册商标因“自行改变注册商标”而被撤销。正确的做法是,将实际使用的新版本重新申请注册。
2.避免成为通用名称
如果商标因为您的管理不善,变成了该类商品的通用名称,任何从业者都可以使用,商标将失去显著性,从而可能被撤销。
例子:“阿司匹林”(Aspirin)原本是拜耳公司的商标,后来在北美地区成为了解热镇痛药的通用名称。
防范措施:
在使用时标明产品通用名称,例如:“华为Mate手机”。
在宣传中声明“XXX是XX公司注册的商标”。
发现他人将自己的商标作为通用名称使用时,及时发出警告函。
3.勿超出核准范围使用
在未注册的商品或服务类别上使用®标记是违法的。如果您业务扩展,需要在新类别上使用该商标,必须重新提交注册申请。
4.确保使用,防止“撤三”
《商标法》规定,无正当理由连续三年停止使用的商标,任何单位或个人都可以申请撤销它。因此,注册后尽快投入商业使用,并持续保留使用证据。
5.许可他人使用需备案
如果允许他人使用您的注册商标,必须签订商标使用许可合同,并共同向商标局办理备案手续。未经备案的许可,不得对抗善意第三人。
遵循以上原则,您的注册商标才能成为品牌最坚固的法律盾牌,为企业的长远发展保驾护航。
免责声明:本网内容转载自其他媒体,目的在于传递及普及知识产权相关知识。相关内容已经注明来源,其原创性以及文中陈述文字和内容未经本站证实,对本文以及其中全部或者部分内容、文字的真实性、完整性、及时性本站不作任何保证或承诺,并请自行核实相关内容。本站不承担此类作品侵权行为的直接责任及连带责任。如若本网有任何内容侵犯您的权益,请及时联系我们 dn@gouzhuo.com ,本站将会在24小时内处理完毕。




