11月3日,不少用户发现,饿了么App完成版本号更新至12. 0.1后,已正式更名为“淘宝闪购”。
目前“淘宝闪购”正处于灰度测试阶段,仅对部分用户开放体验。此次更新的“淘宝闪购”标语为“外卖放心点,美食准时达”。自2025年10月起,骑手服装、App图标等视觉元素已同步更换为淘宝品牌主色调橙色。

此次整合被视为阿里应对美团、京东等对手的“即时零售”竞争举措,通过资源集中和品牌统一,提升配送效率与用户体验。
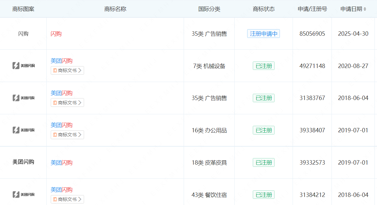
即时零售市场潜力巨大,美团凭借闪购业务占据先发优势。有意思的是,阿里与美团均申请注册“闪购”相关商标,凸显双方对该领域的高度重视。
2025年以来,阿里巴巴(中国)有限公司已申请“淘闪购”“TAOBAOSHANGOU”“淘宝闪购 点外卖更优惠”等多枚闪购系列商标,涉及广告销售、网站服务等领域。

美团早在多年前就已成功注册多件“美团闪购”“美团闪购及图”商标,今年又补充注册“闪购”商标,目前处于申请中状态。

目前,市场上含有“闪购”两字的商标也比较多,像“茗闪购”“农闪购”“亿闪购”等都已成功注册,这些商标或许会对美团和阿里申请的“闪购”商标构成在先权利障碍,影响其获准注册。
饿了么更名为淘宝闪购,是阿里巴巴在即时零售赛道上的战略升级,也是生态协同的必然选择。未来,淘宝闪购能否在与美团闪购的竞争中脱颖而出,成为即时零售领域的“新王者”?我们拭目以待。
免责声明:本网内容转载自其他媒体,目的在于传递及普及知识产权相关知识。相关内容已经注明来源,其原创性以及文中陈述文字和内容未经本站证实,对本文以及其中全部或者部分内容、文字的真实性、完整性、及时性本站不作任何保证或承诺,并请自行核实相关内容。本站不承担此类作品侵权行为的直接责任及连带责任。如若本网有任何内容侵犯您的权益,请及时联系我们 dn@gouzhuo.com ,本站将会在24小时内处理完毕。




