据构卓企服了解,宗馥莉执掌下的娃哈哈正在尝试换标、关停工厂、渠道等。9月,一份娃哈哈《关于开展2026销售年度经销商沟通工作的通知》流出,通知显示,为维护“娃哈哈”品牌使用的合规性,娃哈哈集团决定从2026年新的销售年度起,更换使用新品牌“娃小宗”。

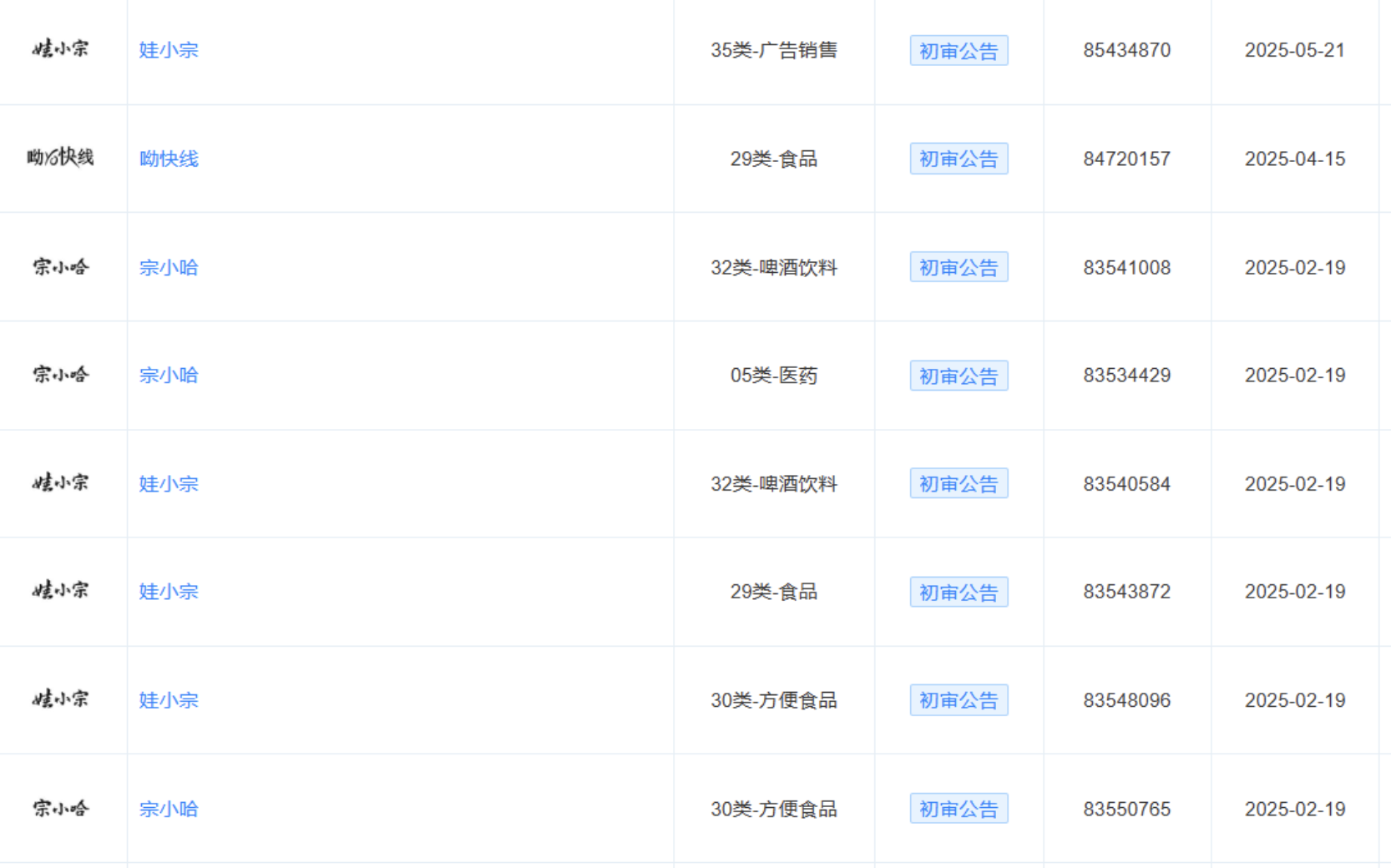
查询显示,今年以来,宏胜饮料集团有限公司已申请注册多枚“娃小宗”“宗小哈”“娃小哈”商标,国际分类涉及食品、啤酒饮料、广告销售等。其中,多枚“娃小宗”“宗小哈”商标状态为初审公告。
值得注意的是,河南某健康产业公司、新吴某电子商务公司、九江某科技公司等均已申请注册“娃小宗”商标,当前商标状态为等待实质审查。
商标通过初步审定,这是一个非常关键的节点,意味着商标局经审查认为您的商标申请基本符合注册规定。但“通过初审”不等于“成功注册”,在最终拿到商标注册证之前,还有一些重要事项需要您注意和应对。
以下是从现在到最终获准注册,您需要重点关注的事项,可以概括为“一个核心风险期,两项关键后续任务”:
一、核心风险期:三个月的初步审定公告期
这是整个流程中最需要关注的阶段。根据《商标法》,初步审定的商标会进入为期3个月的公告期,刊登在《商标公告》上。
目的:征求社会公众的异议,看看是否有其他人认为该商标的注册会损害其合法权益。
您需要注意什么:
潜在异议风险:在这三个月内,任何利害关系人(如认为您的商标侵犯其在先权利、是恶意抢注等)或社会公众(如认为您的商标违反法律禁止性规定)都可以向商标局提出异议。
如何应对:
主动监控(可选但建议):您可以关注商标局官网的公告,或使用商标监控服务,及时了解您的商标是否被提异议。
保持通讯畅通:确保您委托的代理机构(如果您是通过代理申请的)或您申请时留的联系地址/电话有效。一旦有人提出异议,商标局会下发《商标异议答辩通知书》。
积极答辩:如果收到异议通知,切勿忽视!您必须在规定期限内(通常是收到通知之日起30天内)提交书面答辩理由和证据。这是决定您的商标能否成功注册的关键一战。如果放弃答辩,商标局可能将按异议成立处理,导致您的商标不予注册。建议此时立即咨询或聘请专业的商标代理机构/律师协助答辩。
简单来说:平稳度过这3个月公告期且无人异议,您的商标就基本稳了。
二、关键后续任务一:等待并领取注册证书
如果公告期满无人提出异议,商标局便会核准注册,下发电子版的《商标注册证》。
时间:公告期满后,通常还需要1-2个月左右的时间制作和下发证书。
您需要做的是:
确认领取方式:
电子证书:目前商标局主要发放电子注册证。请确保您能正常登录您在商标局官网的账户或您委托的代理机构的系统,及时下载和保存电子证书。
纸质证书:如果需要纸质证书,可能需要另行申请或通过代理机构办理,请保持与代理机构的沟通。
核对证书信息:收到证书后,第一时间仔细核对上面的所有信息,包括:注册人名称/地址、商标图样、核定使用的商品/服务项目、注册日期等。如发现错误,应及时向商标局申请更正。
三、关键后续任务二:注册成功后的规范使用与维护
拿到商标注册证(®)只是品牌保护的开始,后续的规范使用和维护至关重要。
正确使用注册标记:
在核准注册之后,您可以在商标的右上角或右下角标注®或“注册商标”。
切记:在仅通过初审、尚未正式注册的公告期内,绝对不能使用®标志。此时如果想标注,可以使用“TM”标志(TradeMark的缩写),表明该标志是作为商标使用,但不具有法律上的注册商标专用权效力。
规范使用,避免改动:
使用时必须与注册证上的图样保持一致,不能随意改变字体、图案、比例或颜色(特别是注册的黑白商标,使用时可以着色,但注册的彩色商标必须按原颜色使用)。
必须在核定使用的商品或服务项目上使用,不能超范围使用。
保留使用证据:
持续、规范地使用商标,并注意保留使用证据(如合同、发票、广告宣传材料、产品包装、网站截图等)。这些证据在未来应对他人提出的“撤三”(连续三年停止使用撤销)申请时至关重要。
关注权利期限,及时续展:
注册商标的有效期为10年,自核准注册之日起计算。
有效期届满前12个月内应申请续展,期满未续展的,有6个月的宽展期(但需缴纳延迟费)。到期未续展,商标将被注销。
可以许可或转让:
注册成功后,您可以通过签订合同的方式许可他人使用您的商标(需向商标局备案),也可以将商标权转让给他人(需向商标局提出申请)。
免责声明:本网内容转载自其他媒体,目的在于传递及普及知识产权相关知识。相关内容已经注明来源,其原创性以及文中陈述文字和内容未经本站证实,对本文以及其中全部或者部分内容、文字的真实性、完整性、及时性本站不作任何保证或承诺,并请自行核实相关内容。本站不承担此类作品侵权行为的直接责任及连带责任。如若本网有任何内容侵犯您的权益,请及时联系我们 dn@gouzhuo.com ,本站将会在24小时内处理完毕。




